-14%

Correias / Pinch-Rollers / Acess.Vídeo
Comparar
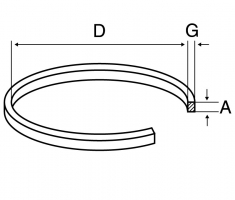
75/95X2 CORREIAS PARA REBOBINADORES
Disponibilidade: Disponível sob encomenda
Prazo 3 a 5 dias úteis
75/95X2 CORREIAS PARA REBOBINADORES
€2,00PVP Física
€1,76 c/ IVAONLINE
Disponível sob encomenda


